The StorEdge L8 autoloader provides automated data storage, archival, backup, and retrieval for a range of systems from desktop workstations to small office local area networks to storage area networks. The standard product is designed for use in a general office environment and has a fully finished appearance for use on a desktop; however, it can be installed easily into a rack.
The autoloader contains one drive and 8 fixed storage locations for tape media. There is a single slot located on the front of the autoloader for inserting and removing tapes. A carousel mechanism is used to move tape within the autoloader, and a robotic picker is used to either move a tape from the carousel to the drive or from the carousel to the media access door. There is an Operator Panel located on the front of the unit for operator interface.
It is compatible with most operating systems and environments that support the SCSI interface, but requires either direct support from the operating system or a compatible backup application to take full advantage of its many features. For specific information about your autoloader, including autoloader capacity, drive information, and physical size, see Technical Specifications.
Your autoloader has the following features:
Use Figure 1 and Figure 2 to help you identify the different autoloader operating components.
The front panel of the autoloader is shown in Figure 1.
Figure 1 Autoloader Front Panel

| Callout | Description |
|---|---|
| 1 | Mail slot |
2 | Front panel LEDs |
3 | Front panel LCD screen |
4 | Control keys |
5 | Power switch |
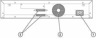
The back panel of the autoloader is shown in Figure 2.
Figure 2 Autoloader Back Panel
| Callout | Description |
|---|---|
| 1 | Power connector |
2 | Fan vent |
3 | HD68 SCSI Connectors |