| T3WG-TT-11-163 | T3WG-TT-11-327 | T3ES-TT-22-327 |
|---|---|---|
| 1 Tabletop Option 9 18.2GB Disks 10000 RPM |
1 Tabletop Option 9 36.4GB Disks 10000 RPM |
2 Tabletop Options 18 18.2GB Disks 10000 RPM |
| T3ES-TT-22-655 | T3WG-RR-11-163 | T3WG-RR-11-327 |
| 2 Tabletop Options 18 36.4GB Disks 10000 RPM |
1 Rack Option w/o Rack 9 18.2GB Disks 10000 RPM |
1 Rack Option w/o Rack 9 36.4GB Disks 10000 RPM |
| T3ES-RR-22-327 | T3ES-RR-22-655 |
|---|---|
| 2 Rack Options w/o Rack 18 18.2GB Disks 10000 RPM |
2 Rack Options w/o Rack 18 36.4GB Disks 10000 RPM |
| CODE | PART # | DESCRIPTION |
|---|---|---|
| 1 | 540-3707 | 72-inch StorEdge Expansion Cabinet |
| 2 | 300-1290 | Universal Power Sequencer |
| NS | 530-1619 | Grounding Cable |
| NS | 530-2674 | Power Cord, Harting Han 6HsB to NEMA L6-30P |
| NS | 530-2675 | Power Cord, Harting Han 6HsB to IEC309 |
| NS | 540-3887 | Fan Assembly |
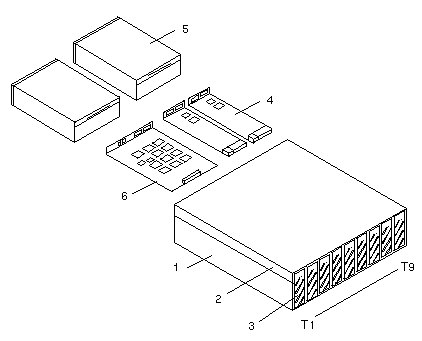
| 3 | 370-3990 | T3 Chassis with Midplane Assembly/FRU |
| 3 3 3 3 |
540-4287 540-4440 540-4367 540-4519 |
18.2GB 10000 RPM 1.6" Disk Drive Assembly/FRU 18.2GB 10000 RPM 1.0" Disk Drive Assembly/FRU 36.4GB 10000 RPM 1.0" Disk Drive Assembly/FRU 73.4GB 10000 RPM 1.6" Disk Drive Assembly/FRU |
| 4 | 375-0085 | Interconnect Card |
| 5 - 5 - |
300-1453 unknown 300-1454 370-3956 |
325 Watt Power Supply w NiCd Battery (pre-release) Nickel Cadmium Battery325 Watt Power Supply with NiMH Battery Nickel Metal Hydride Battery |
| 6 | 375-0084 | Array Controller |
| NS | 540-4306 | Front Cover Assembly/FRU |
| NS | 180-1918 | NEMA 5-15P to Locking IEC320 AC Power Cord |
| NS | 370-3989 | Media Interface Adapter, DB-9 to SC Duplex |
| NS | 370-4119 | Diagnostic Cable Kit/FRU |
| NS NS |
530-2842 530-2843 |
DB-9 Interconnect Cable, 330 mm DB-9 Interconnect Cable, 600 mm |
| NS NS NS |
537-1004 537-1006 537-1020 |
Fibre Optical Cable, 2M Fibre Cable, 15M, Option 978 Fibre Cable, 5M, Option 9715 |
| 806-1062 |
T3 Installation, Operation, and Service Guide |
| T3ES-RH-44-655 | T3ES-RH-44-1310 | T3ES-RH-88-1310 |
|---|---|---|
| 4 T3 Arrays + 72" Rack 2 Hubs + 10 GBICs 36 18.2GB Disks 10000 RPM |
4 T3 Arrays + 72" Rack 2 Hubs + 10 GBICs 36 36.4GB Disks 10000 RPM |
8 T3 Arrays + 72" Rack 2 Hubs + 10 GBICs 72 18.2GB Disks 10000 RPM |
| T3ES-RH-88-2620 | T3ES-RK-44-655 | T3ES-RK-44-1310 |
| 8 T3 Arrays + 72" Rack 2 Hubs + 10 GBICs 72 36.4GB Disks 10000 RPM |
4 T3 Arrays + 72" Rack 36 18.2GB Disks 10000 RPM |
4 T3 Arrays + 72" Rack 36 36.4GB Disks 10000 RPM |
| T3ES-RK-88-1310 | T3ES-RK-88-2620 |
|---|---|
| 8 T3 Arrays + 72" Rack 72 18.2GB Disks 10000 RPM |
8 T3 Arrays + 72" Rack 72 36.4GB Disks 10000 RPM |
| CODE | PART # | DESCRIPTION |
|---|---|---|
| 1 | 540-3707 | 72-inch StorEdge Expansion Cabinet |
| 2 | 300-1290 | Universal Power Sequencer |
| NS | 530-1619 | Grounding Cable Cabinet |
| NS NS |
530-2674 530-2675 |
Power Cord, Harting Han 6HsB to NEMA L6-30P Power Cord, Harting Han 6HsB to IEC309 |
| NS | 540-3887 | Fan Assembly |
| 3 | 370-3990 | T3 Chassis with Midplane Assembly/FRU |
| 4 4 4 4 |
540-4287 540-4440 540-4367 540-4519 |
18.2GB 10000 RPM 1.6" Disk Drive Assembly/FRU 18.2GB 10000 RPM 1.0" Disk Drive Assembly/FRU 36.4GB 10000 RPM 1.0" Disk Drive Assembly/FRU 73.4GB 10000 RPM 1.6" Disk Drive Assembly/FRU |
| NS | 180-1918 | NEMA 5-15P to Locking IEC320 AC Power Cord |
| NS | 370-3989 | Media Interface Adapter, DB-9 to SC Duplex |
| NS NS |
530-2842 530-2843 |
DB-9 Interconnect Cable, 330 mm DB-9 Interconnect Cable, 600 mm |
| NS NS NS |
537-1004 537-1006 537-1020 |
Fibre Optical Cable, 2M Fibre Cable, 15M, Option 978 Fibre Cable, 5M, Option 9715 |
| NS | 340-3899 | FC100 Hub Mounting Bracket |
| NS | 370-2303 | SW-GBIC |
| NS | 370-3012 | FC100 Hub |
| 806-1062 |
T3 Installation, Operation, and Service Guide |
| PART # | DESCRIPTION |
|---|---|
| 595-5557 340-6485 |
E5500/6500 68" Cabinet Air Baffle, Option 9629 Air Baffle |
| 595-5368 330-2618 330-2619 340-6035 340-6139 340-6140 340-6226 |
72" Cabinet/E10000 7U Rack Mount Kit, Option 9663 3U Trim Strip 4U Trim Strip Non Sun Rack Adapter Left Side Rail Right Side Rail 1/2 Height Filler Panel |
| 595-5517 340-6499 340-6500 |
E5500/6500 68" Cabinet 7U Rack Mount Kit, Option 9664 Left Side Rail Right Side Rail |
| 595-5487 330-2619 340-6032 340-6033 340-6035 340-6226 |
72" Cabinet/E10000 4U Rack Mount Kit, Option 9673 4U Trim Strip Left Side Rail Right Side Rail Non Sun Rack Adapter 1/2 Height Filler Panel |
| 595-5517 340-6497 340-6498 |
E5500/6500 68" Cabinet 4U Rack Mount Kit, Option 9674 Left Side Rail Right Side Rail |
| 595-5487 340-6031 |
Mounting Tray Kit, Option 9676 Top/Bottom Support Plate |