Comments and Suggestions
   
Last updated: November 26, 1999


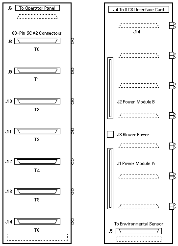
7-Slot SCSI Disk Backplane

SPARCstorage RSM

370-2198
FRU Assembly

Note

FRU 370-2198 includes the Chassis, Operator Panel, Operator Panel Cable, and Centerplane. Individual parts are not available.

Reference

SPARCstorage RSM Installation, Operations, and Service, 802-5062.Internet Link


© 1987-2000, Sun Microsystems Inc.