Comments and Suggestions
   
Last updated: March 26, 1999


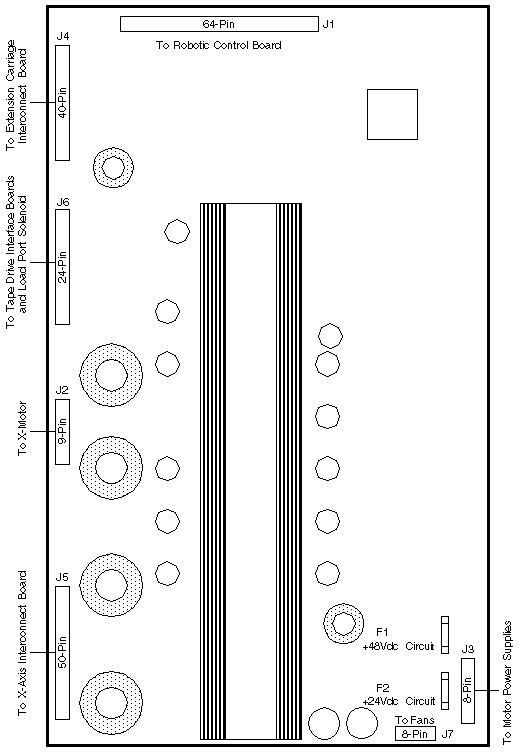
Actuator Driver Board

ETL 4/1000 / ETL 4/1800 / ETL 7/3500
StorEdge L1800 / StorEdge L3500

370-2851
6210450



© 1987-1999, Sun Microsystems Inc.