Comments and Suggestions
   
Last updated: July 17, 2000


Ultra 5 / Ultra 10

A21 / A22

375-0009
w/o Memory
A21 270MHz
A22 300/333MHz

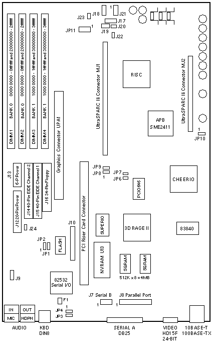
Jumper Settings

JUMPER PINS SETTING DESCRIPTION
JD1 1-2 Out Composite video synchronization
JP1 1-2
2-3
In
In
Select FPROM (default)
Select ROMBO
JP2 1-2
2-3
In
In
FPROM write protect (default)
FPROM write enable
JP3 1-2
2-3
In
In
RS-232
RS-423 (default)
JP4 1-2
2-3
In
In
RS-232
RS-423 (default)
JP6 1-2 N/A Not stuffed
JP7 1-2 N/A Not stuffed
JP8 1-2
2-3
In
In
Simba Clock Input Normal (default)
Simba Clock Input Test
JP9 1-2
2-3
In
In
Simba Clock Input Normal (default)
Simba Clock Input Test
J10 1-2
2-3
Out
In
Bypass CPU in scan chain
Include CPU in scan chain (default)
JP11 1-2 N/A Not stuffed

Miscellaneous Connectors

CONNECTOR PINS DESCRIPTION
J7 1-10 Asynchronous Serial Port B
J8 1-26 Parallel Port
J9 1-4 CD-ROM Audio
J10 1-24 ROMBO
J17 1-4 LED and Soft Reset Switch
J18 1-4 Speaker
J19 1-3 DC Fan Power
J20 1-8 Unknown
J21 1-8 JTAG
J22 1-2 Not stuffed
J23 1-2 Not stuffed
J24 1-2 Unknown

Graphics Notes

  1. Creator and Creator3D are not supported in the Ultra 5.
  2. Elite3D is not supported in the Ultra 5.
  3. Elite3D is supported in the Ultra 10.
  4. Elite3D-m6 was not sold with System Board 375-0009.

Memory Notes

  1. The minimum memory requirement is two DIMMs in any bank.
  2. The 16MB DIMM uses 10-bit column addressing.
  3. The 32, 64, 128, and 256MB DIMMs use 11-bit column addressing.
  4. If 10-bit and 11-bit DIMMs are mixed, either pair will be ignored.
  5. The 256MB DIMMs are not supported in the Ultra 5.

OBP Notes

  1. The flash PROM is soldered to the system board.
  2. Use the Flash PROM Programming Utility to update the flash PROM.
  3. BugIDs 4114343 and 4114784 prevent booting from Dual Ultra SCSI Controller Options X6540A and X6541A. Use the following workaround:
    ok nvedit
    0: dev /builtin-drivers
    1: alias pci1000,1000 pci1000,3
    2: device-end
    3: probe-all install-console banner Ctrl-C (to exit)
    ok nvstore
    ok setenv use-nvramrc? true
    ok reset-all
  4. OBP 3.11 version 9 fixes BugIDs 4114343 and 4114784.
  5. Modules 501-5568, 501-5148, and 501-5149 require OBP >=3.19v4.

Operating System Notes

  1. The minimum operating system is Solaris 2.5.1 Hardware: 11/97.
  2. The minimum Solaris 2.6 release is Solaris 2.6 Hardware: 3/98.

System Board Notes

  1. The 375-0009 shipped with Ultra 5 270MHz.
  2. The 375-0009 shipped with Ultra 10 300MHz.
  3. The 375-0009 shipped with Ultra 10 333MHz.
  4. Graphics quality BugID 4120186 is fixed on 375-0009-07.
  5. Serial communication BugID 4121884 is fixed on 375-0009-08.

References

  1. Sun Ultra 5/10 Service Manual, 805-0423.Internet Link
  2. Sun Ultra 5/10 Product Note, 805-3647.Internet Link
  3. Sun Ultra 5/10 Product Note, 805-4970.Internet Link
  4. Sun Ultra 5 ShowMe How CD-ROM, 704-5753.
  5. Sun Ultra 10 ShowMe How CD-ROM, 704-5983.



Ultra 5 / Ultra 10

A21 / A22

375-0066 375-0079 375-0115
w/o Memory
A21 270/333MHz
A22 333/360MHz
w/o Memory
A21 360MHz
A22 333/360/440MHz
w/o Memory
A21 360MHz
A22 333/360/440MHz

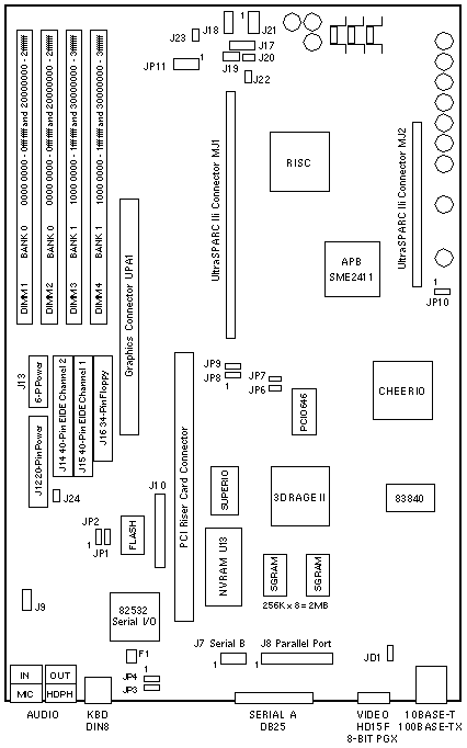
Jumper Settings

JUMPER PINS SETTING DESCRIPTION
JP1 1-3 N/A Not stuffed
JP2 1-2
2-3
In
In
FPROM write protect (default)
FPROM write enable
JP3 1-2
2-3
In
In
RS-232
RS-423 (default)
JP4 1-2
2-3
In
In
RS-232
RS-423 (default)
JP8 1-2
2-3
In
In
Simba Clock Input Normal (default)
Simba Clock Input Test
JP9 1-2
2-3
In
In
Simba Clock Input Normal (default)
Simba Clock Input Test
JP10 1-2
2-3
Out
In
Bypass CPU in scan chain
Include CPU in scan chain (default)
JP11 1-10 N/A Not stuffed

Miscellaneous Connectors

CONNECTOR PINS DESCRIPTION
J7 1-10 Asynchronous Serial Port B
J8 1-26 Parallel Port
J9 1-4 CD-ROM Audio
J10 1-24 ROMBO
J17 1-4 LED and Soft Reset Switch
J18 1-4 Speaker
J19 1-3 DC Fan Power
J21 1-8 JTAG
J22 1-2 Not stuffed
J23 1-2 Not stuffed
J24 1-2 Unknown

Graphics Notes

  1. PGX24 does not simultaneously support 8-bit and 24-bit graphics.
  2. Creator and Creator3D are not supported in the Ultra 5.
  3. Elite3D is not supported in the Ultra 5.
  4. Elite3D is supported in the Ultra 10.
  5. Elite3D-m6 was not sold with System Board 375-0066.

Memory Notes

  1. The minimum memory requirement is two DIMMs in any bank.
  2. The 16MB DIMM uses 10-bit column addressing.
  3. The 32, 64, 128, and 256MB DIMMs use 11-bit column addressing.
  4. If 10-bit and 11-bit DIMMs are mixed, either pair will be ignored.
  5. The 256MB DIMMs are not supported in the Ultra 5.
  6. Memory speed is 60ns if 50ns and 60ns DIMMs are mixed.

Module Notes

  1. Ultra 5 ships with 360MHz/512KB module 501-5148.
  2. Ultra 10 shipped with 360MHz/2MB module 501-5222.
  3. Modules 501-5568, 501-5148, and 501-5149 require OBP >=3.19v4.

OBP Notes

  1. The flash PROM is soldered to the system board.
  2. Use the Flash PROM Programming Utility to update the flash PROM.

Operating System Notes

  1. The minimum operating system is Solaris 2.5.1 Hardware: 11/97.
  2. The minimum Solaris 2.6 release is Solaris 2.6 Hardware: 5/98.
  3. PGX24 Graphics on 2.5.1 HW: 11/97 and 2.6 HW: 5/98 requires Ultra 5/10 Software Supplement CD 704-5885-11.

System Board Notes

  1. The 375-0066 shipped with Ultra 5 270MHz and 333MHz.
  2. The 375-0066 shipped with Ultra 10 333MHz and 360MHz.
  3. The 375-0079 ships with Ultra 5 360MHz.
  4. The 375-0079 ships with Ultra 10 440MHz.
  5. The 375-0079 ships with Ultra 5 270/333MHz after July 1999.
  6. The 375-0079 ships with Ultra 10 333/360MHz after July 1999.
  7. For details regarding the NVRAM on 375-0115, see FIN I0596Internet Link.

References

  1. Sun Ultra 5/10 Service Manual, 805-0423.Internet Link
  2. Sun Ultra 5 ShowMe How CD-ROM, 704-5753.
  3. Sun Ultra 10 ShowMe How CD-ROM, 704-5983.


© 1987-2000, Sun Microsystems Inc.